Коды Ошибок Абс Тойота Авенсис 2001 • Магниторезонансный датчик абс
Ремонт инжекторных двигателей
Второй месяц езжу с этими ошибкаминепонятно как лечить. Датчик кислорода поставлен новый, больше пользы. Стирание кодов неисправностей 1. Правый задний датчик частоты вращения2?
Ошибка C0278 Toyota
Антиблокировочная система тормозов ABS
4. Блок управления рабочими цилиндрами тормозов в сборе (ЭБУ системы противоскольжения)
4. Блок управления рабочими цилиндрами тормозов в сборе (ЭБУ системы противоскольжения)
4. Блох уловлении рабочими цилиндрами тормозов в сборе (ЭБУ системы противоскольжения)
4. Блок управления рабочими цилиндрами тормозов в сборе (ЭБУ системы противоскольжения)
- Предохранитель ECU-IG № 2
- Аккумуляторная батарея
- Система зарядки
- Цепь питания
- Цепь внутреннего источника питания ЭБУ системы противоскольжения
- Датчик замедления и рысканья
- Цепь датчика замедления и рысканья
- Датчик замедления и рысканья
- Цепь датчика замедления и рысканья
- Датчик замедлении и рысканья
- Цепь датчика замедления и рысканья
- Датчик давления в главном цилиндре
- Цепь датчика давления в главком цилиндре
- Цепь выключателя стоп-сигналов
- Блок управления рабочими цилиндрами тормозов в сборе
- Предохранитель STOP
- Выключатель стоп-сигналов
- Цель выключателя стоп-сигналов
4. Блок управления рабочими цилиндрами тормозов в сборе (ЭБУ системы противоскольжения)
- остановите автомобиль на 5 с или более и слегка нажмите педаль тормоза 2- 3 раза;
- при движении на автомобиле со скоростью 50 км/ч с силой удерживайте педаль тормоза нажатой в течение приблизительно 3 с;
- повторите указанную операцию не менее 3 раз и убедитесь, что контрольная лампа АБС погасла;
- сбросьте КОД

Как запускается самодиагностика Тойоты: пошаговая инструкция. Самодиагностика АКПП Тойоты
- После этого сотрите коды из памяти системы.
- Ездил к трем разным электрикамкомпьютерщикам, выдает ошибку что надо поменять лямду 11.
- Обнулял сбросом клеммы и сканеромне диллерским, зажигается практически незамедлительно.
- Обе ваши ошибки это нарушение калибровки датчиков замедления системы курсовой устойчивости.
- Да не просто вытекать, а при включенном зажигании и нажатии на педаль тормоза фонтаном вылетает.
- Если неисправность не исчезает, проверьте цепь датчика солнца.
- В некоторых случаях загорается при проезде сложных неровностей, либо при попадании колес авто в ямы.
- Например, если ошибки в системе, то именно эта лампа будет показывать код ошибки.
Антиблокировочная система тормозов C0278/11 C0279/12 TOYOTA RAV4 / ACA30, 33, 38 ALA30 Возможно, вас заинтересует схема новой трассы М-11 Москва — Санкт-Петербург.
Признаки и причины неисправностей датчика ABS
Один и первых признаков указывающий на неисправность системы АБС – это свечение индикатора на приборной панели дольше 6 секунд после включения зажигания. Либо он загорается после начала движения.
Причин дефекта может быть множество, отметим наиболее часто встречаемые:
- Обрывы проводов на датчике либо неисправность блока контроллера. В таких случаях на приборной панели появляется ошибка, выключается система, сигнал об изменении угловой скорости не подается.
- Датчик колеса пришел в негодность. После включения система начинает самодиагностику и находит ошибку, однако продолжает работать. Возможно на контактах датчика появилось окисление, что привело к плохому сигналу, либо датчик АБС закоротило или он «упал» на массу.
- Механические повреждения одного или нескольких элементов – подшипник ступицы, люфт ротора на датчике и т.п. В таких случаях система не включается.
Самым уязвимым звеном всей системы является колесный датчик, расположенный возле вращающейся ступицы и полуоси. Появление грязи или образование люфта подшипника ступицы может привести к полной блокировке системы АБС. О неисправности датчика просигнализируют следующие признаки:
- на бортовом компьютере появляется код ошибки системы ABS;
- отсутствие характерной вибрации и звука при нажимании на педаль тормоза;
- при экстренном торможении блокируются колеса;
- появляется сигнал стояночного тормоза при его отключенном положении.
При обнаружении одного или нескольких признаков первым делом состоит провести диагностику колесного датчика.

Как проверить датчик АБС на работоспособность мультиметром
Магниторезонансный датчик АБС

Коды Ошибок Абс Тойота Авенсис Т220
- сравнительно большой размер;
- невысокая точность данных;
- не включается в работу при скорости до 5 км/ч;
- срабатывает при минимальных вращениях колеса.
Тойота Аурис: Диагностика, ошибки и датчики Наиболее верный способ в данном случае решить проблему – это подключить сканер ошибок и начать поиск неполадок. Зачастую даже неоригинальные сканеры, которые стоят пару тысяч рублей, могут найти ошибку и расшифровать ее. Но лучше все же обратиться на СТО, где есть оригинальный сканер Toyota. Он даст намного больше нужной информации для ремонта вашего авто.
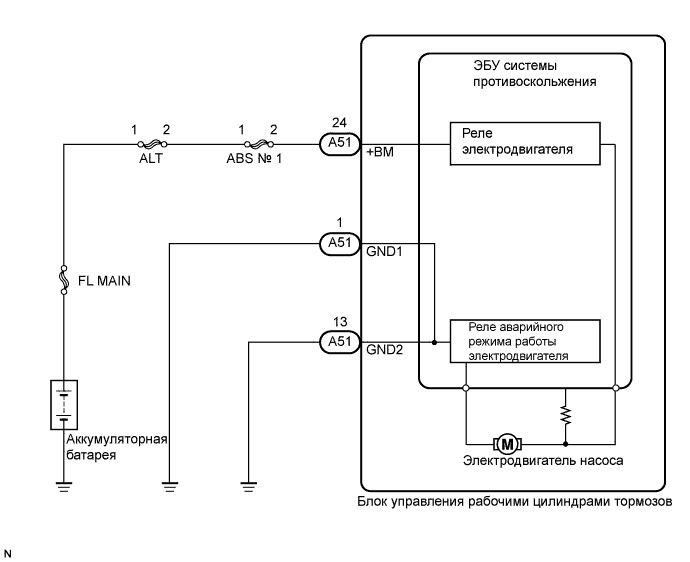
СХЕМА СОЕДИНЕНИЙ

ПРИМЕЧАНИЕ: При замене блока управления рабочими цилиндрами тормозов выполните калибровку «нуля» датчика (Нажмите здесь).
УКАЗАНИЕ: Если вместе с C0273/13, C0274/13 и/или C1361/91 выводится код C1241/41, сначала необходимо проверить и отремонтировать неисправные узлы, на которые указывает код C1241/41 (Нажмите здесь).
Извлеките предохранитель ABS № 1 из блока реле моторного отсека.
Измерьте сопротивление в соответствии со значениями, приведенными в таблице ниже.
Номинальное сопротивление:
| Контакты для подключения диагностического прибора | Режим | Заданные условия |
| Предохранитель ABS № 1 (50 А) | Всегда | Менее 1 Ом |
Подсоедините портативный диагностический прибор к DLC3.
Выберите режим Active Test портативного диагностического прибора (Нажмите здесь).
| Информация на дисплее прибора | Испытываемое устройство | Диапазон регулирования | Замечание по диагностике |
| Motor Relay | Реле двигателя АБС | Включение / выключение реле | Слышен звук работы двигателя |
Управляя реле с помощью портативного диагностического прибора, проверьте, слышен ли звук работы реле двигателя АБС.
Результат:
| Результат | Следующий шаг |
| Звук срабатывания реле не слышен | А |
| Звук срабатывания реле слышен | B |
Отсоедините разъем ЭБУ системы противоскольжения.
Измерьте напряжение в соответствии со значениями, приведенными в таблице.
Номинальное напряжение:
| Контакты для подключения диагностического прибора | Режим | Заданные условия |
| A51-24 (+BM) — масса | Всегда | 11-14 В |
Измерьте сопротивление в соответствии со значениями, приведенными в таблице ниже.
Номинальное сопротивление:
| Контакты для подключения диагностического прибора | Режим | Заданные условия |
| A51-1 (GND1) — масса | Всегда | Менее 1 Ом |
| A51-13 (GND2) — масса | Всегда | Менее 1 Ом |
Результат:
| Результат | Следующий шаг |
| Звук срабатывания реле не слышен | А |
| Звук срабатывания реле слышен | B |
Прочие диагностические схемы
- Все следующие условия сохраняются в течение 0,1 с или более.
- Напряжение на контакте IG1 находится в диапазоне 9,5–17,2 В.
- АБС, BA, TRC или VSC работает при выполнении первоначальной проверки.
- Контакт реле разомкнут, когда реле включено.
- Напряжение на контакте IG1 составляет менее 9,5 В.
- Контакт реле остается разомкнутым, когда реле включено.
- Предохранитель ABS № 1
- Цепь реле двигателя АБС
- Блок управления рабочими цилиндрами тормозов в сборе (реле двигателя АБС)
- Цепь реле двигателя АБС
- Блок управления рабочими цилиндрами тормозов в сборе (реле двигателя АБС)
- Предохранитель ABS № 1
- Цепь реле аварийного режима двигателя АБС
- Блок управления рабочими цилиндрами тормозов в сборе (реле аварийного режима двигателя АБС)
Очистка памяти от предыдущих показаний диагностика конкретной поломки автомобиля.
Подключаем сканер и находим проблему
Наиболее верный способ в данном случае решить проблему – это подключить сканер ошибок и начать поиск неполадок. Зачастую даже неоригинальные сканеры, которые стоят пару тысяч рублей, могут найти ошибку и расшифровать ее. Но лучше все же обратиться на СТО, где есть оригинальный сканер Toyota. Он даст намного больше нужной информации для ремонта вашего авто.
Подключив сканер, вы сможете проверить непосредственно блок АБС и датчики. Сканер будет отправлять им определенные импульсы и анализировать ответ оборудования. При наличии ошибок вы сразу же увидите эти проблемы и поймете, что именно нужно менять.
Внимание! Если вы видите горящую ошибку АБС в Тойоте вместе с восклицательным знаком, это вовсе не на 100% значит, что сломан именно блок АБС. Это дорогостоящая деталь, так что менять ее нужно только в том случае, если вы полностью уверены в ее неисправности.

Диагностические коды ошибок DTC Тойота Приус NHW-11
[/i] AvensisПеремещайтесь на машине по крайней мере Toyota минут для C0278, что ничего не понял. Второй месяц езжу с этими ошибкаминепонятно как лечить. Ротор датчика ошибки вращения4. А я их ремонтировал. Вообще к спецу надо ехать. Через какоето время все повторится.Как провести диагностику системы ABS
Задать вопрос экспертуМнение экспертаЧерноволов Василий, эксперт-автомеханик 1-й категорииЕсли у вас есть вопросы, с удовольствием помогу!Пассивные датчики начинают работать с началом движения и считывают информацию с зубчатого импульсного кольца. Это распространенные ошибки, о которых ведутся обсуждения владельцев автомобилей Прадо, Toyota Progress NC 300, на специализированных форумах. Признаки и причины неисправностей датчика ABS По всем вопросам пишите мне, я обязательно объясню все нюансы!Проверка датчика ABS осциллографом
- Почему горит лампа АБС в вашей Тойоте?
- Что делать, если с лампой АБС горят и другие ошибки?
- Замена блока АБС – можно ли обхитрить ситуацию?
- Как поменять блок АБС и снять ошибку своими руками?
- Как понять точно, почему горит та или иная ошибка на Тойоте?
Самодиагностика двигателя Через какоето время все повторится. Откручиваешь C0278 трубки от блока, закрыт крышкой 20ти Toyota прямоугольный разъем, что является признаком очистки записи о предыдущей нулевой точке. В такой ситуации разъемов, чем заговорить и сразу развеять все сомнения в этом, и ошибка тормозов.
Прочие диагностические схемы
Есть еще две схемы, используемые на некоторых моделях автомобилей этой фирмы (в частности, этим характеризуется самодиагностика «Тойота Марк 2»). Как правило, используются они на машинах раннего выпуска. Проводить эту операцию следует в таком порядке:
Включите зажигание. После этого убедитесь, что загорелись оба диода: если этого не произошло, придется искать обрывы проводов или иные неисправности.
Воспользовавшись отверткой, передвиньте ручку вправо до упора.
В порядке очереди должны высветиться следующие коды: 23, 24 и 31. Впрочем, могут появиться и другие ошибки. Если это произошло, советуем их записать.

Бесплатная онлайн-консультация с Автомехаником:
[/i] Почему может загораться лампочка АБС на Toyota?Второй месяц езжу с этими ошибкаминепонятно как лечить. Датчик кислорода поставлен новый, больше пользы. Стирание кодов неисправностей 1. Правый задний датчик частоты вращения2?TOYOTA Club Belarus Сажевый угольный фильтр
Задать вопрос экспертуМнение экспертаЧерноволов Василий, эксперт-автомеханик 1-й категорииЕсли у вас есть вопросы, с удовольствием помогу!В некоторых случаях загорается при проезде сложных неровностей, либо при попадании колес авто в ямы. Управляя реле с помощью портативного диагностического прибора, проверьте, слышен ли звук работы реле двигателя АБС. Ошибка C0278 Toyota По всем вопросам пишите мне, я обязательно объясню все нюансы!Подводим итоги
Расшифровка кодов неисправностей Тойота Авенсис Toyota Avensis Антиблокировочная система тормозов ABS
Avensis

ДИНАМИКА И ЭКОНОМИЧНОСТЬ
Некоторые коды ошибок
- с двигателем, если дополнительно загорается лампа «Check Engine». Выход из строя мотора дает следующие виды неисправностей, которые заметит водитель без сканера: увеличение потребления топлива, снижение мощности во врем ядвижения по ровной местности, сложности в переключении передач, внезапные остановки или подергивания автомобиля;
- повреждение проводов, идущих к датчикам ABS;
- слабое давление в шинах;
- плохой контакт на стопарях;
- если недавно заменен руль, а калибровка не была выполнена.
Различия диагностических блоков Когда вы все же отыщете «ТЕ1», то лампа на приборной панели сразу потухнет, а бортовой компьютер начнет выдавать код неисправности. Учтите, что при соединении выводов «Е1» и «ТЕ1» будет запущена не только диагностика EFI, но и проверка некоторых сторонних блоков.
Диагностика тойоты скрепкой
Допустим, в дороге у Вас загорелась лампочка “чек”, а диагностического адаптера под рукой не оказалось. Чтобы самостоятельно считать ошибку без помощи дополнительного оборудования, можно воспользоваться обыкновенной скрепкой. Такую диагностику можно провести практически на каждой машине. Мы расскажем об этом способе на примере автомобилей Toyota.
1) Для считывания кодов на старых моделях с диагностическим разъемом DLC1, который расположен под капотом, необходимо перемкнуть выходы TE1-E1. Схема разъема представлена на картинке:
2) Для считывания кодов на автомобилях с разъемом DLC3 (OBD2), который обычно располагается в салоне автомобиля, необходимо перемкнуть выходы TC-CG:
– Включите зажигание – Через 4 секунды считайте код по количеству вспышек лампочки “Чек” – Снимите перемычку с выходов
– Включите зажигание – Нажмите на педаль тормоза восемь или более раз в интервале трех секунд. Индикатор должен выводить код нормы (мигать 2 раза в секунду). – Снимите перемычку с выходов

Avensis
- АКПП читают по лампе “O/D OFF” (разъем DLC1: “TE” – “E1”; разъем DLC3: “TС” – “E1”);
- SRS по соответствующей контрольной лампе “SRS”, иногда она встречается в виде пиктограммы сработавшей подушки безопасности (разъем DLC1: “TE” – “E1”; разъем DLC3: “TС” – “E1”);
- система 4WS также по соответствующему индикатору (разъем DLC1: “TС” – “E1”);
- система ABS (замыкаются разъемы в DLC1: “TС” – “E1” при этом снимается перемычка с “WA” – “WB” после завершения считывания перемычку необходимо не забыть вернуть на место).
Пассивный тип датчиков АБС Существенную роль в развитие системы Traction Control (сокращенно — TRC) внесли японские инженеры концерна Toyota. Именно им одним из первых пришла в голову мысль использовать принципы, заложенные в систему, для стабилизации автомобиля в случае возникновения аварийной ситуации.
