Как Горят Габариты на Тойота Авенсис… Назначение пред-ей
Предохранители и реле тойота авенсис (t270), 2008 — 2019
Как расшифровать маркировку предохранителей в блоках на Toyota Avensis
Инженеры компании постарались по максимуму облегчить обслуживание транспортного средства после покупки – практически все сложноконстуркционное оборудование имеет интуитивно понятную схему расположения и логичность сборки.
Данная правило касается и маркировки предохранителей в блоках автомобиля – узнать функциональное предназначение каждого элемента можно все лишь сверив маркировочный номер с данными из таблицы ниже.
Обратите внимание! В конструкцию блока предохранителей Toyota Avensis не предусмотрено наличие дополнительных посадочных ячеек для подключения дополнительного оборудования. Любые устройства, не входящих в комплектацию транспортного средства для защиты от перенапряжения необходимо подключить через уже проложенные магистрали блока предохранителей.
Замена предохранителей своими руками

Простота конструкционного расположения обоих блоков предохранителей позволяет с легкостью заменить неисправные предохранители даже в случае поломки автомобиля на трассе.
Весь фронт работ по обслуживанию электротехнической части транспортного средства не требует наличия профессиональных навыков в ремонте авто и займет всего 15-20 минут свободного времени.
Из инструментов для замены предохранителей на Toyota Avensis потребуется только плоская шлицевая отвертка и пассатижи либо специальный съемник для демонтажа деталей.
Процедура замены поврежденных предохранителей происходит по следующему алгоритму действий:
Важно знать! Строго не рекомендуется подключить в систему предохранители большей номинальной мощности, нежели разрешено с завода – подобная замена серьезно снижает эффективность защиты транспортного средства от перенапряжения и может стать причиной выхода из строя электротехнического оборудования авто и дорогостоящего ремонта в ближайшем будущем.
Не экономьте на предохранителях и своевременно обслуживайте всю электрику авто – это позволит существенно увеличить ресурс авто.
Распиновка разъема магнитолы по цветам проводов
- Автомобили 1999, 2000, 2001, 2002, 2003 года выпуска.
- Где находится (расположен) блок предохранителей.
- Под капотом (в моторном отсеке) цифра 5. В салоне (под панелью приоров) цифра 22
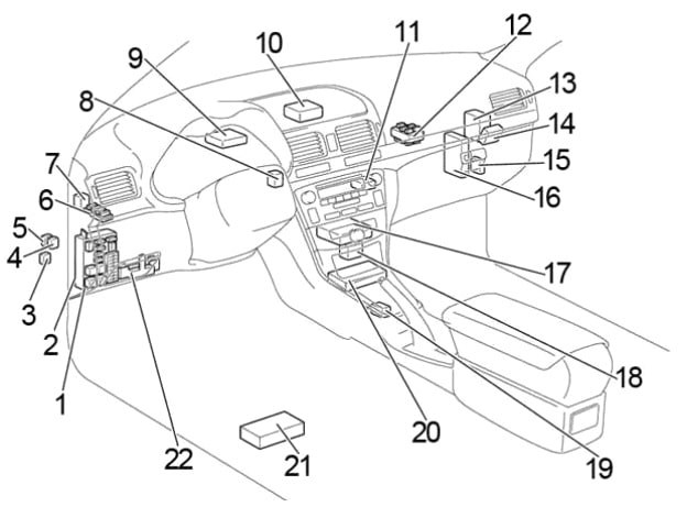
- 1 — реле омывателя фар, 2 — блок реле №7, 3 — блок реле №3, 4 — блок реле №5, 5 — блок реле и предохранителей в моторном отсеке, 6 — блок плавких вставок, 7 — реле системы освещения в дневное время, 8 — центральный монтажный блок, 9 — усилитель кондиционера (с ручным управлением), 10 — блок реле №4, 11 — усилитель кондиционера (автоматический кондиционер), 12 — реле топливного насоса, 13 — блок управления двигателем (модели с МКПП), блок управления двигателем и АКПП (модели с АКПП), 14 — центральный датчик системы SRS, 15 — блок управления иммобилайзером, 16 — блок управления дистанционным замком, 17 — интегрированное реле, 18 — реле обогревателей сидений, 19 — блок предохранителей, 20 — реле передних противотуманных фар, 21 — блок реле №1 (сторона водителя), 22 — реле обогревателя заднего стекла, 23 — блок реле и предохранителей в салоне.
- Монтажный блок реле и предохранителей в салоне
- вид спереди и сзади
- Расшифровка предохранителей в салоне
Замена габаритов Toyota Avensis (Тойота Авенсис) — AvtoZam Чтобы понимать, где искать причину поломки, нужно понимать, как вообще работает система освещения салона. Перед вами типичная упрощенная схема. В нее может быть включено еще много различных устройств, но автомобили разные и нарисовать схему под каждый конкретный экземпляр нельзя. В большинстве случаев свет в салоне подключен так:
Предупреждающие значки на панели
Значок руль может загораться в двух цветах. Если горит желтый руль, то требуется адаптация, а при появлении красного изображения рулевого колеса с восклицательным знаком, уже стоит обеспокоиться отказом системы ГУР или ЭУР. Когда светится красный руль, то наверняка Ваше рулевое колесо стает очень трудно поворачивать.
Значок иммобилайзера, как правило, моргает, если автомобиль закрыт; в таком случае индикатор красного автомобиля с белым ключом сигнализирует о работе противоугонной системы. Но существует 3 основных причины если лампочка иммо постоянно горит: иммобилайзер не активирован, если не считывается метка с ключа или система противоугона неисправна.
Значок ручника загорается не только в том случае, когда активирован (поднят) рычаг ручного тормоза, но и в тех случаях, когда износились тормозные колодки или нужна доливка/замена тормозной жидкости. На авто с электронным ручником лампочка стояночного тормоза может загораться по причине глюка концевика или датчика.

Расшифровка значков на приборной панели
Замена лампы указателя поворота

Тойота авенсис не горит свет в салоне
Предохранители и реле Toyota Avensis 2003-2008 Последовательность действий при замене этой детали следующая. Нащупав лампочку габарита (главное, не перепутать ее с указателем поворота), ее предстоит выкрутить вмесите с цоколем, повернув последний против часовой стрелки на четверть оборота.
Когда необходима на Ниссан Альмера замена лампочки габаритных огней или любой другой лампочки
Согласно действующим ПДД, даже в светлое время суток и даже в условиях идеальной видимости на движущемся автомобиле должны быть включены либо фары (в режиме ближнего света), либо дневные ходовые огни (если они присутствуют в конструкции транспортного средства), либо габаритные огни, которые некоторые автовладельцы по-старинке именуют подфарниками.
Назначение габаритов
Четких объяснений, для чего это требуется, правила дорожного движения не дают. Просто нужно – и все. Поэтому на большинстве современных авто они включаются автоматически в момент запуска двигателя и продолжают гореть до момента его выключения. На Ниссан Альмера все именно так и происходит.
Таким образом, получается, что именно эти огни пребывают во включенном состоянии дольше всех прочих осветительных приборов машины. И лампочки их, имеющие определенный ресурс, перегорают чаще прочих. На Альмере это обыкновенные лампочки накаливания – недорогие, но при этом малоэффективные и потребляющие достаточно большое количество электроэнергии.
Важно: если инспектор ГИБДД заметит, что эти приборы (или один из них) у вас не работают, он имеет все основания, чтобы выписать вам штраф в размере пятисот рублей. Так что, если вам пришлось выехать из гаража с неисправным габаритом, чтобы обезопасить себя от ненужных трат, включите ближний свет фар. А еще лучше – просто замените перегоревшую лампочку.
Как осуществляется на Ниссан Альмера замена лампочки габаритных огней
Теоретически, на Ниссан Альмера замена лампочки габаритных огней занимает не более пяти минут, но лишь в том случае, если раньше вам ее уже приходилось проделывать, потому что добраться до этой детали не так-то просто, как может показаться на первый взгляд.
Доступ к ней осуществляется через подкапотное пространство, причем, владельцу Альмеры придется проявить изрядную ловкость рук, чтобы достичь успеха в этом деле.
Работать при этом придется на ощупь, так как ни просунуть голову между фарой и мотором, ни даже осветить этот темный угол подкапотного пространства фонариком вряд ли получится.
Последовательность действий при замене этой детали следующая. Нащупав лампочку габарита (главное, не перепутать ее с указателем поворота), ее предстоит выкрутить вмесите с цоколем, повернув последний против часовой стрелки на четверть оборота.
Если вам это удалось (далеко не каждому новичку удается справиться с этой процедурой с первого раза), остается совсем немного: раскачивающими движениями, не прилагая чрезмерных усилий, вынуть перегоревший элемент из патрона.
Если тот при этом треснул, то, скорее всего, придется менять и сам патрон, потому как втащить оставшийся в патроне отколовшийся плоский хвостик, не повредив при этом сам патрон, – задача не из легких. И только тогда, когда старая лампочка полностью будет извлечена, на ее место можно будет установить новую. Разумеется, делая это со всей аккуратностью.

Блоки в салоне
- Откройте капот.
- Открутите защитную крышку, которая находится с обратной стороны фары (в правой фаре доступ к защитной крышке, а также к лампочкам удобнее, чем в левой. Поэтому для лучшего доступа можете открутить наружный блок предохранителей. Однако это необязательно, т.к., при определенной сноровке, лампочки вполне можно заменить и без этого.).
- Лампа головного света в открывшемся окошке занимает центральное место и находится за колодкой питания. Поэтому следует отсоединить электропитание от лампы.
- Лампочка зафиксирована на своем месте при помощи пружины-фиксатора, на которую следует нажать и вывести из зацепления.
- Достаньте лампу и установите на ее место новую.
- Соберите все в обратной последовательности.
Зоны действия модулей и защиты электрооборудования, находящиеся в салоне Изменение напряжения в сторону увеличения сокращает срок службы лампочки, а в сторону уменьшения – увеличивает. Например, в случае увеличения напряжения на 5%, срок службы снижается на 40%, а при снижении на 5%, увеличивается на 60%.
Причина №1: Перегоревшая лампочка
Очень просто и элементарно, однако некоторые автовладельцы начинают поиск «неисправности» в глубинах электрики. Не надо – просто проверьте лампу. Можно просто посмотреть на нить, а можно и прозвонить тестером. Последний вариант гораздо точнее поможет определить перегоревшую лампочку – иногда сгорает не спираль, а контакт внутри цоколя и с виду все выглядит вполне исправно.
Вторая причина, по которой может не работать свет в салоне – сгоревший предохранитель. Практически всегда салонное освещение «делит» предохранитель с другими устройствами. Поэтому если вместе со светом перестали работать, например, часы или магнитола, то вероятность сгоревшего предохранителя крайне велика.
Найдите нужный предохранитель в соответствующем блоке и убедитесь в его целости. Если предохранитель все же сгорел, вероятно, для этого есть причина – короткое замыкание. Поэтому, не факт, что после вставки нового предохранителя все заработает. Вполне возможно, что он тут же сгорит. Если это произошло – замыкание точно есть. Нужно узнать, как найти короткое замыкание в автомобиле.
В то же время не всегда перегорание предохранителя происходит по причине «коротыша». Его перемычка может быть просто старой (уставшей) или сделанной из некачественного материала.

Распиновка для различных марок авто и магнитол
- Сбиваются показания расхода топлива в Тойота Авенсис 2 – 2 ответа
- Одновременно загорелись индикаторы на приборной панели Тойота Авенсис Т250 – 2 ответа
- Нужна схема подключения салонного зеркала заднего вида Тойота – 2 ответа
- Ошибка P0724 в Тойота Авенсис 2 – 2 ответа
- Неисправность клавиш автомагнитолы и клавиш мультируля – 1 ответ
Автомобили с правым рулем Общая схема расположения электронных блоков управления в салоне
Схема предохранителей и реле Toyota Avensis (2003-2009)
Исполнение блоков и их расположение может отличатся от представленного и зависит от года выпуска, уровня оснащения и региона поставки.
Расположение
Общая схема расположения электронных блоков управления в салоне
Левое расположение рулевого управления

Правое расположение рулевого управления
- Блок предохранителей
- Интегрированное реле
- Реле топливного насоса (Circuit Opening)
- Реле заднего противотуманного света
- Реле обогрева заднего стекла
- Блок реле
- Реле указателей поворота
- Усилитель транспондера ключа
- EPS ECU
- Блок управления транспондером ключа
- Усилитель антенны
- Распределительный блок
- Реле стеклоочистителя
- Ресивер центрального замка
- Блок управления корректором фар
- Блок управления двигателем и коробкой передач (A/T) Блок управления двигателем (M/T)
- Блок управления кондиционером
- Опциональный коннектор (навигация)
- Блок управления селектором коробки передач
- Блок управления подушками безопасности
- Блок управления навигацией
- Дополнительный блок предохранителей
- RHD:
Блок управления противоугонной системой
Блок предохранителей
Он находится в нижней части панели приборов за защитной крышкой.
За работу прикуривателя отвечает предохранитель номер 9 на 15А.
Дополнительный блок предохранителей
Расположен над педалями, параллельно полу.
| 1 | 25А АСС Кнопка запуска, иммобилайзер, блокировка руля (LHD) |
| 2 | 20A P-RR P/W — Стеклоподъемник |
| 3 | 20A P-FR P/W — Стеклоподъемник |
| 4 | 20A D-RR P/W — Стеклоподъемник |
| 5 | 20A D-FR P/W — Стеклоподъемник |
| 6 | 7,5A ECU-B 1 — Коробка передач |
| 7 | 10A FUEL OPN — Лючок заливной горловины топливного бака |
| 8 | 20A FR DIC — Обогреватель зоны щеток стеклоочистителей ветрового стекла, предохранитель: «MIR HTR» |
| 9 | 10А А/С Кондиционер (механический кондиционер), вспомогательный отопитель |
| 10 | 7,5A DEF I/UP — Кондиционер |
| 11 | 7,5A ST — Мульти — информационный дисплей, система распределенного впрыска топлива/ система последовательного распределенного впрыска топлива, система запуска |
| 12 | 10A MIR HTR — Обогрев зеркал |
| 13 | 15A RAD NO.2 — Аудиосистема, мульти — информационный дисплей |
| 14 | 7,5A DOME — Освещение салона, персональное освещение, освещение в дверях, освещение багажного отсека, подсветка индивидуального зеркала, освещение пространства для ног |
| 15 | 7,5A ECU-B 2 — Кондиционер, система беспроводного управления |
| 16 | 30A PWR SEAT — Сиденья с электроприводом |
Блок реле
Предохранители и реле Toyota Avensis (T270), 2008 — 2022 г.в.

Ремонт и замена блока предохранителей и реле на Toyota Avensis
- R1 — Обогреватель зоны щеток стеклоочистителей ветрового стекла (FR DEICER)
- R2 — Розетка (P/POINT)
- R3 — Передний противотуманный свет (FR FOG)
- R4 — Стартер (ST)
Nissan Компоновка предохранителей выполнена следующим образом:
