Код Dtc B0028 13 на Хонде • Давление в шинах
Коды самодиагностики Honda
Для перехода в режим самодиагностики у автомобилей Honda необходимо замкнуть два контакта на свободно висящем разъеме под панелью приборов или в моторном отсеке.
Датчик содержания кислорода в выхлопных газах (лямда-зонд)
Датчик содержания кислорода в выхлопных газах (лямда-зонд)
Датчик температуры охлаждающей жидкости
Датчик температуры всасываемого воздуха
Датчик содержания кислорода в выхлопных газах (лямда-зонд)
Датчик содержания кислорода в выхлопных газах (лямда-зонд)
Датчик содержания кислорода в выхлопных газах (лямда-зонд)
Датчик содержания кислорода в выхлопных газах (лямда-зонд)
Датчик содержания кислорода в выхлопных газах (лямда-зонд)
Cylinder 1 Misfire or a Random Misfire
Cylinder 2 Misfire or a Random Misfire
Cylinder 3 Misfire or a Random Misfire
Датчик температуры охлаждающей жидкости

Код Dtc B0028 13 на Хонде
- Перемкнуть те же контакты разъема 9 и 4 проволокой;
- Ключ от зажигания воткнуть в замок, выкрутить руль влево до упора, и придержать его в таком положении руками;
- Провернуть ключ, но не заводить мотор, и подождать 4 секунды, чтобы потухла лампочка EPS на панели;
- Затем, возвращаете рулевое колесо в среднюю позицию (колеса для движения по прямой), уложившись при этом в 4 секунды. Это вызывает новое включение EPS лампочки;
- Снова выкрутить руль влево до упора, потратив не более 4 секунд, чтобы лампочка EPS потухла;
- Вернуть рулевое колесо в среднее положение, уложившись в 4 секунды, лампочка EPS при этом мигнет дважды. Это значит, что ошибки сброшены из памяти компьютера;
- Ждите 5 секунд, чтобы компьютер зафиксировал среднее положение рулевой баоанки. Завершение сброса вызывает троекратную вспышку EPS индикации;
- Отключите зажигание и удалите перемычку из диагностического разъема. Если EPS лампочка не потухла, повторите сначала весь процесс. Когда ошибка не сбросилась дважды, нужно искать и устранять причину.
Коды ошибок хонда фит. Как расшифровать коды ошибок на все модели Хонды? Расшифровку кодов смотрим тут: Коды неисправностей ABS, VSA, TSA Honda CR-V 07-11 г.в.
Список кодов ошибок Мерседес с расшифровкой
Стандартные или общие коды ошибок — это список кодов, распространенных у всех производителей. Этот список ошибок, также известный как DTC (Data Trouble Code), определен таким образом, что любое диагностическое устройство может считать и декодировать его.
Значения некоторых основных кодов ошибок.
P (Powertrain, расшифровывается как трансмиссия) — код работы двигателя и/или АКПП ( автоматической коробки переключения передач).
C (Chassis, шасси) — код работы ходовой части (шасси).
B (Body, тело, кузов)- код работы того, что находится в кузове автомобиля: электрических стекло подъёмников, подушек безопасности, центрального замка и т.д.
U (User network, коммуникационные сети)- код связи между электронными блоками управления.
Первая цифра указывает, является ли код общим или нет.
Поскольку список общих кодов не всегда достаточен, производители могут добавлять любое количество кодов.
Последние 3 цифры соответствуют возрастающему числу. Этот номер может быть представлен шестнадцатеричным числом (т. е. от 0 до 9 и от A до F).
Для семейства кода P были определены подсемейства с первой цифрой
- 0 , 1 и 2: для управления дозированием воздуха/топлива
- 3: для системы зажигания
- 4: для дополнительного контроля выбросов
- 5: для регулирования пустого хода двигателя
- 6: для бортового компьютера (ЭБУ) и дополнительных выходов
- 7, 8 и 9: для управления коробкой передач (Коробка передач)
- A, B и C: для гибридного привода
Эти коды были стандартизированы по нормам SAE J2012 и ISO 15031-6 и содержат около 11 000 определений.
Адрес и контакты
Мы ждем Вас ежедневно с понедельника по воскресенье c 9:00 до 21:00.
Наши мастера всегда будут рады проконсультировать по следующим телефонным номерам:

Коды ошибок abs Honda — Автогностика
- Количество диагностических кодов неисправностей
- Диагностические коды неисправностей
- Коды ошибок для данных стоп-кадра
- Данные Стоп-Кадра
- Тестовые Данные Лямбда-Зондов
- Состояние тестов мониторинга системы
- Бортовой мониторинг результатов теста
- Пройденное расстояние с включенным MIL
- Количество циклов прогрева с момента удаления DTC
- Расстояние, пройденное с момента удаления DTC
- Время работы двигателя (минуты) с включенным MIL
- Время с момента удаления DTC
- Корректирующие данные системы впрыска
Таблица давления в шинах по марке автомобиля Во всех вышеперечисленных случаях, кроме последнего, выход из строя происходит постепенно. Поэтому те автовладельцы, которые не знают как проверить лямбда зонд и где он вообще расположен, скорее всего, не сразу заметят неисправность. Однако, для опытных водителей определить причину изменения работы двигателя не составит никакого труда.
Диагностика системы управления двигателем (PGM-Fi).
Поводом для диагностики является индикатор MIL (он же «check engine»), который загорелся или загорался при работе двигателя. Даже если индикатор погас, код неисправности сохраняется в памяти (если не отключать аккумулятор).
Основной код указывает на группу неисправностей, а дополнительный уточняет неисправность в группе, например:
При «ручной» диагностике индикатор MIL показывает основной код Honda DTC, это двух- или трех- значное число. В таблице кодов неисправностей двигателя этот код указан в скобках.

Трёхзначные коды отображаются так: первые две цифры — десятками, последняя — единицами. Т.е. код 168 будет показан как 16 длинных вспышек и 8 коротких.
Коды так же демонстрируются от меньших к большим и после показа всех кодов повторяются по кругу.
Расшифровку кодов смотрим тут: Коды неисправностей двигателя Honda CR-V 07-11 г.в.
Если в памяти неисправностей нет — индикатор MIL будет гореть непрерывно.
Блок управления двигателем обнуляется просто отключением питания.
Итак, для обнуления блока управления двигателем достаточно просто на полминуты-минуту отсоединить клемму от аккумулятора.
Но тут есть одно неудобство: магнитола тоже сбросится и затребует ввода кода разблокировки. Что бы избежать этого, можно выполнить сброс, вытащив в блоке предохранителей моторного отсека два предохранителя: №18 и №19 (естественно зажигание при этом должно быть выключено).
Двигатели L13A, L13B Honda: характеристики, отзывы
Коды ошибок Мерседес. Расшифровка ошибок Mercedes При стандартной сборке автомобиля, лямбда зонд монтируется в выпускном коллекторе в области соединения патрубков, однако, иногда бывают и другие вариации его установки. В принципе, иное расположение не влияет на рабочую производительность данного прибора.
ПОСЛЕДОВАТЕЛЬНОСТЬ ПРОВЕРКИ
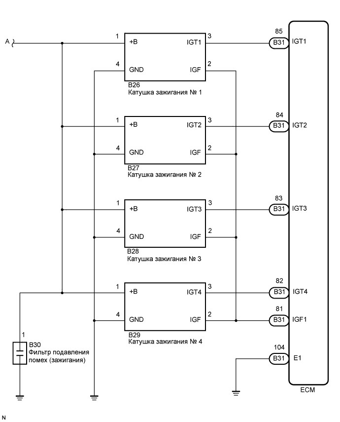
- Данные DTC указывают на неисправность в цепи низкого напряжения.
- В случае регистрации DTC P0351 проверьте цепь катушки зажигания № 1.
- В случае регистрации DTC P0352 проверьте цепь катушки зажигания № 2.
- В случае регистрации DTC P0353 проверьте цепь катушки зажигания № 3.
- В случае регистрации DTC P0354 проверьте цепь катушки зажигания № 4.
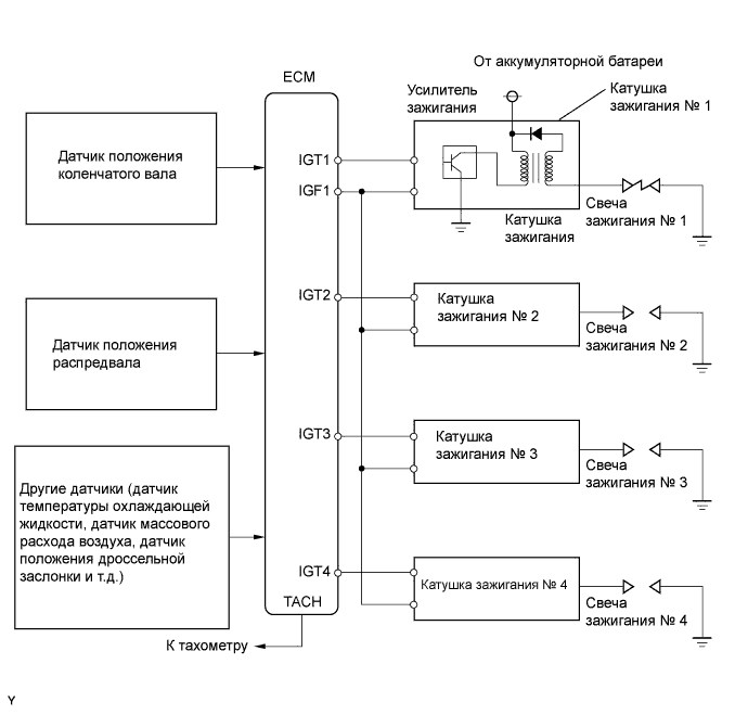
- С помощью портативного диагностического прибора считайте данные фиксированного набора параметров. Одновременно с записью в память кода DTC ECM сохраняет параметры состояния автомобиля и условий езды как данные фиксированного набора параметров. При поиске неисправностей фиксированные параметры позволяют определить, двигался ли автомобиль в момент возникновения неисправности или нет, был ли прогрет двигатель, каким было соотношение воздух-топливо (обедненным или обогащенным) и пр.
Подсоедините портативный диагностический прибор к DLC3.
Включите портативный диагностический прибор.
Откройте следующие пункты меню: Powertrain / Engine and ECT / DTC.
Результат:
| Результат | Следующий шаг |
| DTC P0351, P0352, P0353 или P0354 выводится | А |
| P0351, P0352, P0353 и/или P0354 выводятся | B |
Подсоедините портативный диагностический прибор к DLC3.
Включите портативный диагностический прибор.
Неправильный порядок расположения катушек зажигания с усилителями зажигания (между цилиндрами №№ 1-4).
Выполните проверку с имитацией условий возникновения неисправности.
Проверьте коды DTC, отображаемые на дисплее портативного диагностического прибора.
Результат:
| Результат | Следующий шаг |
| Выводится такой же DTC | А |
| Выводится другой код DTC, связанный с катушкой зажигания | B |
Измерьте напряжение в соответствии со значениями, приведенными в таблице.
Номинальное напряжение:
| Контакты для подключения диагностического прибора | Положение замка зажигания | Заданные условия |
| B26-1 (+B) — B26-4 (GND) | Зажигание включено (IG) | 9-14 В |
| B27-1 (+B) — B27-4 (GND) | Зажигание включено (IG) | 9-14 В |
| B28-1 (+B) — B28-4 (GND) | Зажигание включено (IG) | 9-14 В |
| B29-1 (+B) — B29-4 (GND) | Зажигание включено (IG) | 9-14 В |

Результат:
| Результат | Следующий шаг |
| Выводится такой же DTC | А |
| Выводится другой код DTC, связанный с катушкой зажигания | B |
Первые признаки неисправности лямбда-зонда или как проверить датчик кислорода
Список кодов ошибок Мерседес с расшифровкой Ни в коем случае во время диагностики нельзя нажимать на тормоза. Если вы что-то сделаете неверно, система ABS переходит в рабочий режим, в результате чего диагностика автомобиля будет невозможной.
Технические характеристики двигателей
Мотор надежен и в теории и на практике. Слабых мест практически нет. Для стабильной работы требуется периодически менять свечи. Своевременное обслуживание и качественные рабочие жидкости значительно продлевают ресурс.
Автомобили, на которые устанавливался двс L13A
- Honda Jazz, седан (2005-2009)
- Honda Fit Aria, хэтчбек (2002-2009)
- Honda Fit, хэтчбек (2001-2004)
- Honda Fit, хэтчбек (2012-2013)
- Honda Fit, хэтчбек (2010-2012)
- Honda Fit, хэтчбек (2007-2010)
- Honda Fit, хэтчбек (2005-2007)
- Honda Fit, хэтчбек (2004-2005)
Автомобили, на которые устанавливался двс L13B

Значения некоторых основных кодов ошибок.
Электронная проверка лямбда зонда 9. Диагностика электрооборудования салона.
В чём измеряется
Как правило, бытовые приборы для измерения давления в шинах оснащены шкалой с такими наименованиями, как: kg/cm2, bar, атм.
В процессе поездки происходит трение шины о дорожное покрытие, и уровень давления увеличивается. Происходит нагрев и увеличение объёма газов внутри покрышки, поэтому для корректного измерения уровня в шинах воздух должен остыть. Нормальные показатели определяются на «холодной» резине.
Для проверки и регулировки плотности воздуха в шинах используется специальный измерительный прибор — манометр. Достаточно часто этот прибор идёт в комплекте с компрессором. Выбор измерительных устройств на рынке авто товаров огромен и включает в себя от самых бюджетных до инновационных моделей:
- Стрелочные – простые механические устройства пружинного типа. Погрешность до 0,1 атмосфер. Лучшие модели – с ясно читаемой шкалой и механизмом для сброса излишнего давления.
- Реечный – с цилиндрической пружиной и выдвижным алюминиевым штоком. Главное достоинство этого прибора – компактность. Цифровой (электронный) манометр – наиболее точный прибор с погрешностью ±0.05 единиц. Проблемы могут возникнуть при сильных морозах или ударах. Работает от батареек.
- Система TPMS – индивидуальный колпачок для каждого колеса. Цвет крышки меняется в зависимости от давления в шинах. Устройство нельзя считать высокоточным, но с обязанностями индикатора оно отлично справляется.
- Датчики-колпачки с электронным индикатором – ещё один современный дорогой прибор. Миниатюрные ключики устанавливают вместо стандартных заглушек. Внутри устройства содержится специальный чип, который подаёт радио-сигнал на внешний датчик. Питается прибор от прикуривателя.
Сегодня большинство новых машин оснащается бортовыми датчиками с показателями температуры и давления. Данные об уровне воздуха и температуре выводятся на сенсорный экран автомобиля. Бортовая система сама предупреждает водителя о необходимости подкачать или приспустить колесо.

Обнуление ошибок ABS
Обнуление ошибок VSA

Как и чем измерить
- перед дальней поездкой;
- в случае внезапной оттепели или заморозков;
- через 100 км пробега;
- после любого монтажа/демонтажа покрышек.
Заключение. Cylinder 2 Misfire or a Random Misfire
